next up previous
Next: CPU Registers Up: SPIM S20: A MIPS Previous: System Calls

Description of the Machine

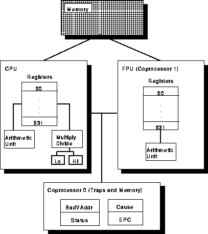
   figure247
Figure 2: MIPS R2000 CPU and FPU

A MIPS processor consists of an integer processing unit (the CPU) and a collection of coprocessors that perform ancillary tasks or operate on other types of data such as floating point numbers (see Figure 2). SPIM simulates two coprocessors. Coprocessor 0 handles traps, exceptions, and the virtual memory system. SPIM simulates most of the first two and entirely omits details of the memory system. Coprocessor 1 is the floating point unit. SPIM simulates most aspects of this unit.





Mitch Roth
Fri Sep 6 23:25:26 ADT 1996